Avec le code REM10 profitez de -10% sur tout le site
(hors produit déjà en promotion,soldes et motos)
LA BOUTIQUE DU TOUT TERRAIN - Service client local_phone03 81 35 54 41 - Contactez-nous
- Prix réduit
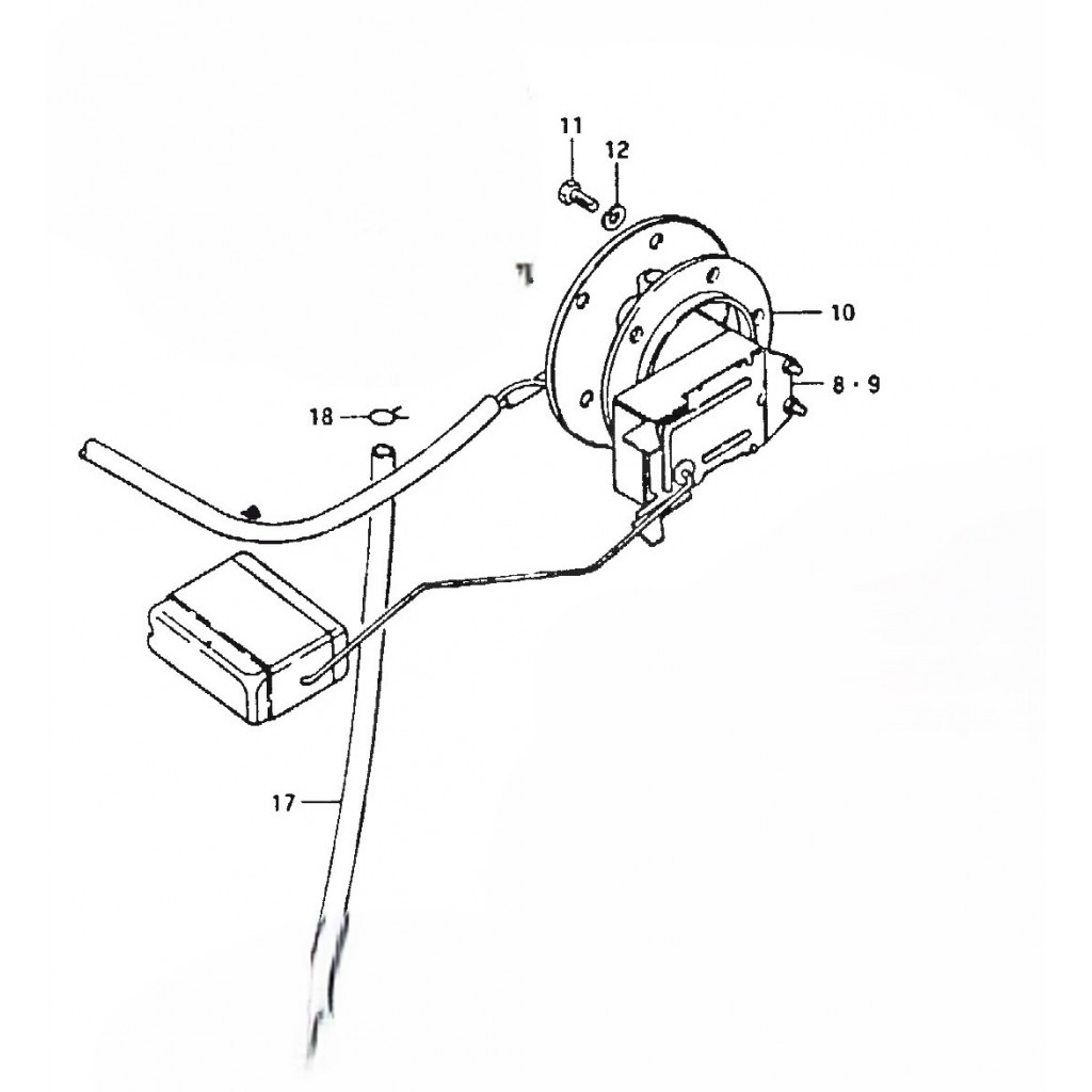
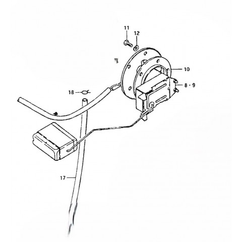
JAUGE A ESSENCE 34810-49210
JAUGE A ESSENCE 34810-49210
-20%
79,57 €
TTC
99,46 €
3481049210
/